Projects / Turbines


1) Centripetal turbine impellers (hd)
2) Centrifugal turbine impellers (hd)
3) Francis turbine (hd)




1)
Machine type:
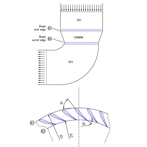
Radial centripetal turbine impeller.

Application:
Hydrodynamic torque converters.

Project extent:
Hydraulic development of a family of centripetal turbine impellers.

Main goals:
Achieve the required hydraulic and energy parameters.
Assure radial direction of the fluid flow leaving the impeller at optimal flow rate.

Gallery

Centripetal turbine impeller in meridional and cascade cross-section Total pressure distribution in the cascade Velocity vectors and static pressure on the blades Non-dimensional H(Q) characteristic for different inlet angles Non-dimensional ETA(Q) characteristic for different inlet angles Non-dimensional MT(Q) characteristic for different inlet angles